回收溴化锂制冷机,回收双良溴化锂
 
单效溴化锂吸收式制… 2026-4-28
溴化锂直燃机日常运… 2026-4-17
溴化锂溶液循环量对… 2026-4-8
溴化锂机组的防腐缓… 2026-3-30
如何通过浓度优化溴… 2026-3-20
溴化锂浓度与溶液循… 2026-3-12
 
如果您有什要求或建议,将详细内容填入表
格,我们的客服会尽快
回复给您,帮您解决疑
难问题,谢谢您对我们
长久的支持!
 
如果您有任何意见和建议可致信我们的邮箱
我们将及时回复您的邮件,
同时谢谢您对我们的支持!
【点此进入邮箱】
 
 
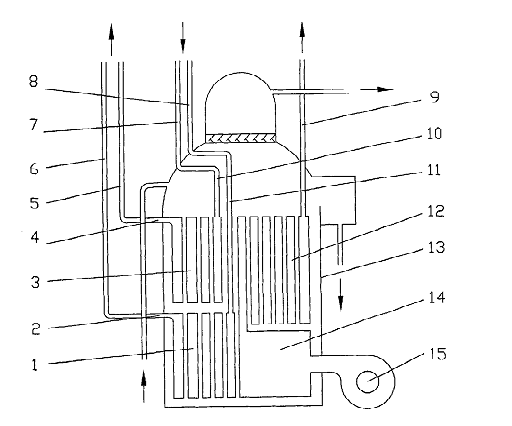
排热利用型溴化锂吸收式制冷机用多管束补燃发生器
发布者:韩工  发布时间:2015-07-21 13:16:53  点击:2789
    排热利用型溴化锂吸收式制冷机用多管束补燃发生器,包括筒体(13),在同一筒体(13)内设置有炉筒(14)、燃烧器(15)、补燃烟气换热管束(12)和余热烟气换热管束,其特征在于所述余热烟气换热管束有多组。  木实用新型提出的多管束补燃发生器,在同一筒体内设置有炉筒、补燃烟气换热管束和多组余热烟气换热管束,使配置该发生器的排热利用型溴化锂吸收式制冷机可与要求有独立排烟通道的多台排烟设

备安装连接运行,从而减少设备配置数革、减少设备占地面积、降低设备投资费用;对于大型机组,还可有效减小机组的宽度尺寸,使其结构紧凑,外形美观,体积和占地面积均减小。










上一页:溴化锂吸收式制冷机组溴化锂溶液磁处理改性装置机理
下一页:溴化锂吸收式制冷机制冷时生产卫生热水的节能装置的具体实施方式
    
版权所有: 无锡中央空调回收网-专业从事:回收溴化锂制冷机,回收双良溴化锂 Tel:0510-88725458 fax:0510-88725458
E-mail:sales@wxzykd.com 溴化锂中央空调,二手溴化锂冷水机组,回收大连三洋溴化锂,溴化锂冷水机组,回收溴化锂中央空调