回收溴化锂制冷机,回收双良溴化锂
 
单效溴化锂吸收式制… 2026-4-28
溴化锂直燃机日常运… 2026-4-17
溴化锂溶液循环量对… 2026-4-8
溴化锂机组的防腐缓… 2026-3-30
如何通过浓度优化溴… 2026-3-20
溴化锂浓度与溶液循… 2026-3-12
 
如果您有什要求或建议,将详细内容填入表
格,我们的客服会尽快
回复给您,帮您解决疑
难问题,谢谢您对我们
长久的支持!
 
如果您有任何意见和建议可致信我们的邮箱
我们将及时回复您的邮件,
同时谢谢您对我们的支持!
【点此进入邮箱】
 
 
燃煤直燃式多功能溴化锂制冷机
发布者:韩工  发布时间:2015-01-16 13:21:19  点击:2751
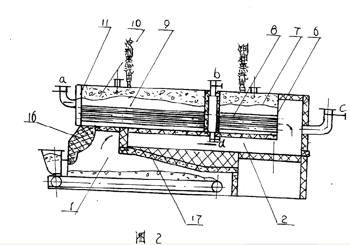
  燃煤直燃式多功能溴化锂制冷机,它由炉膛、烟道、蒸汽室、高压发生器、低压发生器、冷凝器、蒸发器和吸收器组成,其主要特点是炉膛采用前后拱结构,可适应各类煤种。烟道开有四个烟气出口,可实现紧急停机。在高温烟气入口设置一蒸汽室,可提供饱和蒸汽和饮用开水。本机能以各类煤种为燃料,能制冷、制热、供给卫生热水,并能提供饱和蒸汽和饮用开水,功能齐全,结构简单,操作方便,利于推广应用。

  1.一种燃煤直燃式多功能溴化锂制冷机,它由炉膛[1]、烟道[2]、蒸汽室[6]、高压发生器[11]、低压发生器[12]、冷凝器[13]、蒸发器[14]和吸收器[15]组成,其特征在于炉膛[1]采用前后拱结构[16][17],蒸汽室[6]设置在烟气的入口或高压发生器[11]出口,蒸汽室[6]和高压发生器[11]内布置高教挟端罢[8][9]并与炉堂[1]、烟道[2]隔热、烟道[2]上.开有四个烟气出口风门(a、b、c、d),从而构成燃煤直燃式多功能溴化锂制冷机。
  2.根据权利要求1所述多功能溴化锂制冷机,其特征在于高效换热器[8][9]采用高效传热螺纹烟管。


图1为制冷机原理图

图2为炉膛1、蒸汽室6和高压发生器11的结构示意图


上一页:溴化锂溶液的热力特性
下一页:一种风冷式小型溴化锂吸收式制冷机
    
版权所有: 无锡中央空调回收网-专业从事:回收溴化锂制冷机,回收双良溴化锂 Tel:0510-88725458 fax:0510-88725458
E-mail:sales@wxzykd.com 溴化锂中央空调,二手溴化锂冷水机组,回收大连三洋溴化锂,溴化锂冷水机组,回收溴化锂中央空调